发布日期:2019-06-23 点击次数:185
随着液压技术的发展,越来越多超长行程的液压缸都配置有内置式磁致伸缩位移传感器,通常为防止传感器在液压缸动作时碰坏和折断,会在液压缸的内部安装传感器保护管,但当油缸行程超过6m时,由于油缸达到最大行程后,传感器保护管成悬臂结构,刚性不足,其下坠的幅度增大,所以在油缸动作的时候,传感器被损坏的风险也随之增大。因此需要设计出一种刚性好、稳定性好、变形量小的传感器保护装置。
实用新型内容
为了克服上述缺点,现提供一种刚性好、稳定性好、变形量小的超长行程液压缸内置式磁致伸缩位移传感器保护防折弯装置
本实用新型解决其技术问题所采用的技术方案是:一种超长行程液压缸内置式位移传感器保护防折弯装置,小油缸缸底通过内六角螺钉与油缸缸底固定,从而与小油缸缸底连接在一起的传感器、传感器保护管组件、小缸筒也与油缸缸底固定在一起;磁环与铜环通过内六角螺钉与小活塞杆连接在一起;油缸活塞杆杆头在装配时先与连接法兰、小活塞杆杆头连接好后再与油缸的活塞杆连接
本实用新型的有益效果:传感器及保护管装在小油缸内部,由于小油缸活塞内径较小,而且小油缸缸筒的刚性远远大于原保护管的刚性,即使油缸走完行程时,小缸筒小油缸缸筒的变形量也在安全范围内,这样传感器在油缸运行时就不会发生损坏的现象。
附图说明
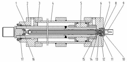
图1是本实用新型结构剖视图
图中:1-油缸活塞杆,2-油缸缸头,3-油缸法兰,4-油缸缸筒,5-油缸活塞, 6-油缸缸底,7-小油缸缸底,8-内六角螺钉,9-传感器,10-传感器保护管组件,11-铜环, 12-磁环,13-小缸筒,14-小活塞杆,15-铜导向套,16-接连法兰,17-油缸活塞杆杆头。
具体实施方式
下面结合附图和实施例对本实用新型进一步说明
参见图1,一种超长行程液压缸内置式磁致伸缩位移传感器保护防折弯装置,小油缸缸底7 通过内六角螺钉8与油缸缸底8固定,从而与小油缸缸底7连接在一起的传感器9、传感器保护管组件10、小缸筒13也与油缸缸底8固定在一起;磁环12与铜环11通过内六角螺钉与小活塞杆14连接在一起;油缸活塞杆杆头17在装配时先与连接法兰16、小活塞杆14杆头连接好后再与油缸的活塞杆1连接
由于小活塞杆14是与油缸活塞杆1固定在一起的,当油缸工作时,油缸活塞杆1 带动小活塞杆14与磁环12 —起动作,与传感器磁尺产生相对运动,从而实现了传感器的工作,此时,小活塞杆14内的铜导向套15—直托住传感器保护管组件10,小活塞杆14托住小缸筒13,使传感器保护管组件10、小活小缸筒13具有足够的刚性,变形量远小于传感器安全要求,从而有效地保护传感器不受损坏,同时,采用铜导向套15,极大地提高了传感器保护管组件的耐磨性;小缸筒13外圆镀硬铬,也增加了小缸筒13的耐磨性,从而延长了整个保护装置的使用寿命。
本实用新型的传感器及保护管装在小油缸内部,由于小油缸活塞内径较小,而且小油缸缸筒的刚性远远大于原保护管的刚性,即使油缸走完行程时,小缸筒小油缸缸筒的变形量也在安全范围内,这样传感器在油缸运行时就不会发生损坏的现象具有刚性好、稳定性好、变形量小的特点。
- 下一篇:带磁致伸缩位移传感器的液压机控制系统
- 上一篇:带磁致伸缩位移传感器的采煤机调高油缸
最新产品










粤公网安备 44030602003587号