发布日期:2019-06-25 点击次数:200
中控吹塑成型技术是通过气压使塑化的型胚紧贴模具内壁成型。型胚的生产方式为挤出式,即将加热塑化的塑料溶液从各种形状的模芯缝隙中挤出,形成各种形状的筒状型胚。挤出的型胚靠自重垂直悬挂。
现有技术中,型胚因重力垂申会使制品上部较薄,下部较厚,对于较长的制品尤其明显,而有些熔融指数较高的材料(PC、ABS、LDPE)则很难成型。如果在吹塑成型的过程中型胚壁厚没能得到有效控制,那么在型胚吹胀时各部位吹胀比的不同将造成制品厚薄不均。中控容器制品因其强度规定了最小壁厚,为使制品最薄处达到最小壁厚要求,制品的其他部位就要相应加厚,造成材料的浪费。所以,均匀一致的壁厚是以保证制品的强度和增加原材料成本为前提的。
实用新型内容
本实用新型要解决的问题是提供一种能够在吹塑的过程中针对不同的部位形成不同壁厚的壁厚控制器。
本实用新型的有益效果在于:通过壁厚控制器的加入,减少了原材料的使用,节约了成本,缩短了制品冷却的时间,加快了制品的生产周期。
附图说明
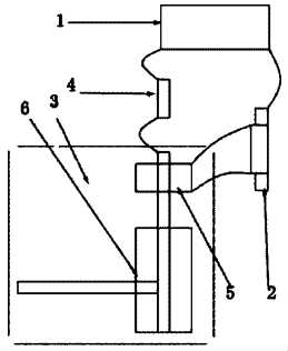
图1为本实用新型的结构示意图。
其中:1、控制器, 2、电液伺服阀,3、动作执行机构,4、直线位移传感器,5、伺服油缸, 6、模芯。
实施方式
下面结合附图对本实用新型的具体实施方施做出简要说明。
如图1所示,一种壁厚控制器,主要由控制器1、电液伺服阀2、动作执行机构3和直线位移传感器4组成;其中所述动作执行机构3主要由伺服油缸5和模芯6组成;电液伺服阀2和直线位移传感器4均与控制器1和动作执行机构3连接;伺服油缸5与模芯6相连接。电液伺服阀2和直线位移传感器4与动作执行机构3中的伺服油缸5相连接。
工作方式:用户在控制器1上设定型胚壁厚轴向变化曲线,控制器1根据壁厚曲线输出大小变化的电压或者电流信号至电液伺服阀2,由电液伺服阀2驱动伺服油缸5控制模芯6上下移动,从而造成模芯6缝隙的变化。直线位移传感器4通过测量缝隙的大小得出相应的电压信号,并反馈给控制器1,完成工作的回路。
以上对本实用新型的一个实施例进行了详细说明,但所述内容仅为本实用新型的较佳实施例,不能被认为用于限定本实用新型的实施范围。凡依本实用新型申请范围所作的均等变化与改进等,均应仍归属于本实用新型的专利涵盖范围之内。
- 下一篇:注塑机数字化直线位移传感器信号转接线盒
- 上一篇:带拉绳位移传感器的拉线式观测柜
最新产品










粤公网安备 44030602003587号